排气阀

自动排气阀
产品简介
News Center
新闻中心产品名称:自动排气阀
公称通径:DN10~DN15~DN20~DN25
结构形式:浮球式
公称压力:1.6MPa
连接方式:外螺纹
适用温度:-15ºC~+100ºC
驱动方式:自动
阀体材质:黄铜、不锈钢
制造标准:国标GB、德国DIN、美国API、ANSI
适用介质:水、给排水、污水等
不锈钢自动排气阀主要应用于暖通空调系统,往往安装在制高点或弯头等处,以排除管道中多余气体、提高管道路使用效率及降低能耗。并消除气阻,防止水流量减小而引起的冷热不均等现象。
当系统中有气体产生时,由于气体的密度比水小,气体会顺着管道向上走,最终聚集在系统的高点,所以不锈钢自动排气阀一般都安装在系统高点,在这里不锈钢自动排气阀的排气效率最高。当气体进入不锈钢自动排气阀阀腔聚集在不锈钢自动排气阀的上部,随着阀内气体的增多,气体压力上升。当气体压力大于系统压力时,气体会使腔内水面下降,浮筒随水位一起下降,排气口打开开始排气;随着气体排出,气压降低,水位上升,浮筒也随之上升,排气口关闭。

1、当没有气体时,浮子将会上升,机械机构保证销针关闭排气口。
2、当有气体聚集时,浮子下降,销针打开阀门,使气体排出直到气体排尽。
3、当系统中有气体溢出时,气体会顺着管道向上爬,最终聚集在系统的最高点,而不锈钢自动排气阀一般都安装在系统最高点,当气体进入排气阀阀腔聚集在排气阀的上部,随着阀内气体的增多,压力上升,当气体压力大于系统压力时,气体会使腔内水面下降,浮筒随水位一起下降,打开排气口;气体排尽后,水位上升,浮筒也随之上升,关闭排气口。
4、同样的原理,当系统中产生负压,阀腔中水面下降,排气口打开,由于此时外界大气压力比系统压力大,所以大气会通过排气口进入系统,防止负压的危害。如拧紧不锈钢自动排气阀阀体上的阀帽,不锈钢自动排气阀停止排气,通常情况下,阀帽应该处于开启状态。
广泛应用于水处理设备、化工设备、石化设备、石油设备、造纸设备、采矿设备、电力设备配套、液化气设备、食品设备、制药设备、给排水设备、市政阀门、机械设备阀门、电子工业阀门,城建阀门、工业管道阀门、通用零部件、工业设备、消防暖通、中央空调、过滤设备、冶金设备、轻纺设备.环保设备等领域。
1、普通排气阀无内置过滤网,杂质易堵塞排气嘴,设计不合理,弹簧有疲劳损,时间长了封不严,易漏水。
2、改进型暖气不锈钢自动排气阀内置过滤网防止杂质进入排气嘴,优质产品的重量是劣质产品质量的2倍。(需订购)
3、质量可靠,性能稳定,一年免费更换,杜绝国产品牌排气又排水的情况产生。
公称压力 | 1.0MPa |
阀座试验压力 | 1.1MPa |
阀体试验压力 | 1.5MPa |

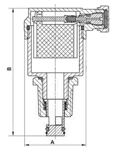
公称通径 | A | B | G |
10 | 49 | 87 | 3/8" |
15 | 49 | 87 | 1/2" |
20 | 49 | 87 | 3/4" |
25 | 49 | 87 | 1" |
1、不锈钢自动排气阀必须垂直安装,必须保证阀体内浮筒处于竖直状态,不能水平或倒立安装;
由于气体密度比水小,会沿着管道一直爬到系统最高点并聚集在此,为了提高排气效率,排气阀一般都安装在系统的最高点;
2、为了便于检修,排气阀一般跟隔断阀一起使用,这样拆卸排气阀是不需要关停系统;
暖气排气阀安装好后必须拧松防尘帽才能排气,但不能完全取掉,万一发生排气阀漏水,可拧紧防尘帽。
在线留言