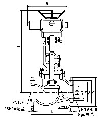
截止阀

J941W电动截止阀
产品简介
News Center
新闻中心产品型号:J941H/F
产品口径:DN50-300mm
产品压力:1.6-16MPa
产品材质:铸钢、不锈钢
工作温度:-29~550℃
应用范围:石油、化工、制药、化肥、电力行业等
1.全关时手轮按顺时针方向旋转。
2.可以安装在管道的任何位置上,介质从下往上流。
3.不锈钢截止阀适用于各类腐蚀性介质的管道上,有良好的防腐性和足够的强度。
4.合金钢截止阀适用于耐高温的蒸气.油品管道上,具有耐高温特点。
设计制造 | GB/T12235-89 |
法兰连接尺寸 | JB/T 79-94 |
阀门检查和试验 | GB/T13927-92 |
公称压力PN(MPa) Noninal Pressure | 1.6 | 2.5 | 4.0 | 6.4 | 10.0 | 16.0 |
壳体强度试验 Shell strength test | 2.4 | 3.75 | 6.0 | 9.6 | 15 | 24 |
上密封试验 Back seal test | 1.76 | 2.75 | 4.4 | 7.04 | 11 | 17.6 |
密封试验 Sealtest(Mpa) | 1.76 | 2.75 | 4.4 | 7.04 | 11 | 17.6 |
公称压力PN(MPa) Noninal Pressure | 1.6 | 2.5 | 4.0 | 6.4 | 10.0 | 16.0 |
壳体强度试验 Shell strength test | 2.4 | 3.75 | 6.0 | 9.6 | 15 | 24 |
上密封试验 Back seal test | 1.76 | 2.75 | 4.4 | 7.04 | 11 | 17.6 |
密封试验 Sealtest(Mpa) | 1.76 | 2.75 | 4.4 | 7.04 | 11 | 17.6 |
产品类型 | 零 件 名 称 | |||||||
阀体、阀盖 | 阀杆 | 阀瓣 | 密封面 | 阀杆螺母 Yoke nut | 填料 Packing | 紧固件 Fastener | 手轮 Handwheel | |
H J941 -C型 Y | 25.WCB | 铬不锈钢 Cr.Stainles Steel | 2Cr13 25 | H:不锈钢 Y:钻基硬质合金钢 H:Stainless steel Y:Co-based carbide alloy steel | ZQA19-4 铝青铜 Albronze | 柔性石墨 Flexible graphite | 优质碳钢 High-grade carbon steel | 可锻铸钢 Forgeable cast-ironl |
H J941 -P型 Y | 铬镍钛钢 Cr.Ni.Ti.steel | 铬镍钛钢 Cr.Ni.Ti.steel | 铬镍钛钢 Cr.Ni.Ti.steel | 铬镍钛钢 Cr.Ni.Ti.steel | ZQA19-4 铝青铜 Albronze | 柔性石墨 Flexible graphite | 不锈钢 Stainess steel | 可锻铸钢 Forgeable cast-ironl |
H J941 -R型 Y | 铬镍钼钛钢 Cr.Ni.Mo.Ti steel | 铬镍钼钛钢 Cr.Ni.Mo.Ti steel | 铬镍钼钛钢 Cr.Ni.Mo.Ti steel | 铬镍钼钛钢 Cr.Ni.Mo.Ti steel | ZQA19-4 铝青铜 Albronze | 柔性石墨 Flexible graphite | 不锈钢 Stainess steel | 可锻铸钢 Forgeable cast-ironl |
H J941 -I型 Y | 铬钼钢 Cr.Mo.steel | 铬钼钢 Cr.Mo.steel | 合金钢 Alloy steel | 钻基硬质合金钢 Co-based carbide alloy steel | ZQA19-4 铝青铜 Albronze | 柔性石墨 Flexible graphite | 合金钢 All steel | 可锻铸钢 Forgeable cast-ironl |

公称压力 | 公称通径 | 标准值 | 参考值 | ||||||||
J941H-16C J941W-16P J941Y-16I | DN(mm) | L | D | D1 | n2 | b | f | Z-φd | L1 | H | 重量(kg) |
50 | 230 | 160 | 125 | 100 | 16 | 3 | 4-φ18 | 590 | 645 | 48 | |
65 | 290 | 180 | 145 | 120 | 18 | 3 | 4-φ18 | 590 | 690 | 60 | |
80 | 310 | 195 | 160 | 135 | 20 | 3 | 8-φ18 | 590 | 715 | 65 | |
100 | 350 | 215 | 180 | 155 | 20 | 3 | 8-φ18 | 590 | 770 | 71 | |
125 | 400 | 254 | 210 | 185 | 22 | 3 | 8-φ18 | 590 | 780 | 119 | |
150 | 480 | 280 | 240 | 210 | 24 | 3 | 8-φ23 | 590 | 810 | 210 | |
200 | 600 | 335 | 295 | 265 | 26 | 3 | 12-φ23 | 810 | 967 | 320 | |
250 | 622 | 405 | 355 | 320 | 30 | 3 | 12-φ25 | 810 | 1143 | 550 | |
300 | 698 | 460 | 410 | 375 | 30 | 4 | 12-φ25 | 830 | 1292 | 785 | |
J941H-16CJ941W-16P J941Y-16I 2.5Mpa | 50 | 230 | 160 | 125 | 100 | 20 | 3 | 4-φ18 | 590 | 645 | 50 |
65 | 290 | 180 | 145 | 120 | 22 | 3 | 8-φ18 | 590 | 690 | 65 | |
80 | 310 | 195 | 160 | 135 | 22 | 3 | 8-φ18 | 590 | 715 | 67 | |
100 | 350 | 230 | 190 | 160 | 24 | 3 | 8-φ23 | 590 | 770 | 73 | |
125 | 400 | 270 | 220 | 188 | 28 | 3 | 8-φ25 | 590 | 780 | 127 | |
150 | 480 | 300 | 250 | 218 | 30 | 3 | 8-φ25 | 810 | 810 | 215 | |
200 | 600 | 360 | 310 | 278 | 34 | 3 | 12-φ25 | 810 | 967 | 322 | |
250 | 622 | 425 | 370 | 332 | 36 | 3 | 12-φ30 | 830 | 1143 | 585 | |
300 | 698 | 485 | 430 | 390 | 40 | 4 | 16-φ30 | 830 | 1292 | 795 | |
在线留言